互联网大厂,竞赛健康医疗领域。
抖音集团(香港)旗下公司斥资3.36亿买地建医院
近日,北京市公共资源交易服务平台披露的一则协议出让成交信息显示,北京宁和康瑞医疗管理有限公司以33560.43万元竞得中关村朝阳园北区CY00-2905-0006-1地块,该宗地用途明确为A51医院用地。

企查查数据显示,北京宁和康瑞医疗管理有限公司成立于2024年12月18日,法定代表人为陈冠宇,注册资本为7.34亿元,经营范围涵盖医院管理;技术服务、技术开发、技术咨询、技术交流、技术转让、技术推广等,所属行业为卫生。
股权穿透结果显示,该公司由北京字跳网络技术有限公司100%持股,认缴出资额与注册资本一致,出资期限设定至2029年12月5日,首次持股时间可追溯至公司成立当日,明确指向字节跳动为该医疗项目的实际出资方。


而北京字跳网络技术有限公司的唯一股东为抖音集团(香港)有限公司,两层100%控股结构直接锁定抖音集团为该医疗项目的实际出资方与决策主体。
值得关注的是,此次成交地块与2025年初北京市卫生健康委员会批复的抖音集团医疗项目用地高度吻合。据当时批复文件,抖音集团获准在北京市朝阳区中关村朝阳园北区医疗服务地块(2905-0006地块)开展北京爱瑞医院(待定)项目建设,项目定位为三级综合医院,中外合资合作,床位数800张。

这一布局并非临时决策。北京市规划和自然资源委员会2025年1月23日发布的出让计划公示已明确,该地块将用于建设国际化医疗综合体,核心构成包括以人工智能技术平台为支撑的三级综合国际化医院、数字医疗研发创新中心及精准医学临床转化中心。
更早前的2022年9月,该地块的出让计划已对医疗团队构成作出明确要求,项目建成后,医疗团队的外籍医生占比不低于医生总体数量的20%,多点执业医生总工作量不超过医生整体工作量的10%,为项目的国际化与专业化属性奠定基础。
医疗版图不断扩大抖音如何卖药
此次拿地是抖音集团医疗布局的又一关键落子。
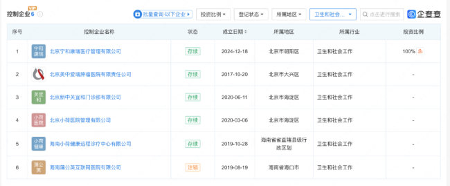
企查查数据显示,抖音集团(香港)有限公司在“卫生和社会工作”板块控制的企业有6家,除一家显示注销外,其余5家均为存续,包括北京宁和康瑞医疗管理有限公司、北京美中爱瑞肿瘤医院有限责任公司、北京新中关宜和门诊部有限公司、北京小荷医院管理有限公司、海南小荷健康远程诊疗中心有限公司。
业务覆盖实体医院、门诊服务、远程诊疗、医院管理等多个维度,形成了线下医疗服务的基础网络。

不过,此前业内有消息称,上述地块或将用于建设美中宜和集团旗下美中爱瑞肿瘤医院的新院区,并非开展新业务。
北京美中爱瑞肿瘤医院是一家三级肿瘤专科医院,设有肺癌中心、乳腺癌中心等九大中心及多个医技科室,设有400张肿瘤专科床位、包含60张日间化疗及24张ICU/急诊留观床位。
从行业逻辑来看,实体医院布局或为抖音医疗健康全产业链谋划的一环,其医药电商板块的合规化推进也将获得重要支撑。
针对药品流通的特殊性,抖音持续完善平台规则,于今年8月29日修订发布《【非处方药】品类管理规范》《【处方药】品类管理规范》,同时放开部分医疗器械品类经营,同步出台对应的管理规范,搭建起医药电商的合规运营框架。
流量优势为抖音医疗布局提供天然支撑。
根据“抖音健康”发布的数据,截至2025年8月,抖音医疗认证创作者已超过7万,医院科室等机构认证创作者超5000家,其中超5成认证医生、机构创作者来自三甲医院。过去一年平台新增医疗科普内容超400万条,累计观看次数超5000亿次。庞大的用户基础与内容生态已形成健康需求流量池,有望为线下医疗导流、线上药品转化奠定基础。
目前来看,互联网大厂中,除抖音外,京东、阿里健康等纷纷踏足健康医疗领域。
抖音以流量优势结合实体医疗布局,有望在医疗服务数字化、健康科普下沉等方面带来创新,为行业发展注入新的可能性,但具体成效仍取决于其医疗资源整合能力与合规运营水平。
(责任编辑:zx0600)